Вакуумный эжектор. Серия VEB
Блок для энкодера » Блоки пользователей FLprog
Блоки эжекторов - технологические блоки с приме...
Блокировка.
Ключов етап от Програмата за извеждане от експл...
Эжектор | это... Что такое Эжектор?
Вакуумные эжекторы ЭКОНАУ: характеристики, опис...
Что такое эжектор и как он улучшает работу насоса
Эжекторы судовые ВЭЖ
Конструкции пароструйных эжекторов, Эжекторы ЛМ...
Пусковой эжектор;
Блок эжекторов | ООО «РусГазКрио»
Эжекторы
Эц и м/сх: Блокинг генератор
Блоки и система блоков - презентация онлайн
Блок схеми - ЕЛДИЗАЙН ЕООД
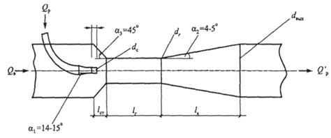
Устройство эжектора - сопло, приемная и рабочая...
Расчет эжектора - Улучшение качества природных вод
Плакат
Изготовлен блок эжекторов БЭГ 27 - YouTube
Насосы и эжекторы
Скачать Серия 5.903-15 Выпуск 7-6. Блок эжектор...
Арматурный блок подачи ингибитора
ЭЖЕКТОР НА КОПИИ | МОДЕЛИСТ-КОНСТРУКТОР
Технологические блоки
Вентилационен блок с единичен отвор - АНГРО
Hidraulika Rotban-Hidraulični razvodnici
Блок контакторов АВР для генератора. Пример кач...
Скачать Серия 5.903-15 Выпуск 7-2. Блок эжектор...
Блоки подготовки воздуха - EMC пневматическое о...
Эко блок
Блоки эжекторов :: Курганхиммаш
Купить Эжектор - ООО «ТД Цемент-Навал»
Шести блок на АЕЦ "Козлодуй" изключи заради про...