Суппорт: что это, как устроен, признаки неиспра...
Малая продольная 16к20 . Верхний суппорт, салаз...
Суппорт тормозной: что такое суппорт, принцип р...
Салазки суппорта станка Тв купить в Ельце цена ...
Суппорт что это такое в станке
Токарный станок по металлу tos sv18ra
Суппорта и салазки на 1550 купить Б/У в Коломне...
Суппорт тормозной: что это такое и как работает...
салазки ( каретка ) суппорта продольного переме...
Суппорта схема: Принципиальная схема разборки з...
Суппорт токарного станка
Как передается движение суппорту через ходовой ...
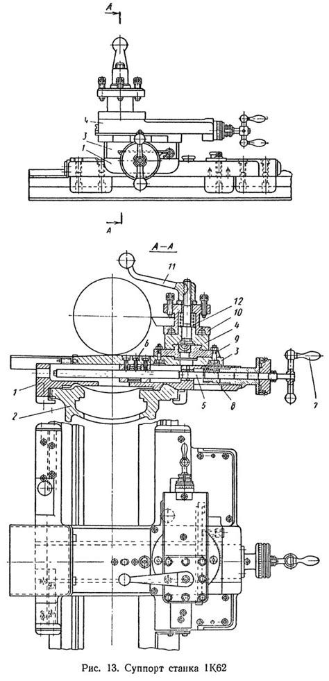
Суппорт 1К62, суппор 1к62д, суппорт 1м63
Супорта: Всё, что нужно знать об обслуживании т...
1. Общий вид токарно-винторезного станка 1к625,...
Куплю: Куплю поперечные салазки суппорта TSA-16...
Студопедия — Суппорт
Как вытащить поршень из суппорта: основные мето...
Модель: 163.04.166А
Суппорта и пружины — Lada Ларгус, 1,6 л, 2012 г...
Верхние салазки суппорта токарного станка tos s...
Поперечная плита (поперечные салазки суппорта) ...
Салазки поперечного суппорта ИТ-1М с двумя лимб...
Суппорт для токарных станков по металлу
Обработка наружных конусов при повернутых верхн...
Устройство токарного станка по металлу: описани...
Как работает суппорт на токарном станке
1.Общий вид токарно-винторезного станка 1м61, о...
Суппорт салазки малой продольной 16к20 купить в...
Что такое суппорт в токарном станке
салазки поперечной подачи суппорта станка ТВ-4/...
верхние салазки суппорта от токарного станка 1Е...
Токарный станок ТВ-7 – технические характеристики