Распашник мотоблочный РМ-1 (окучник) Калуга 473...
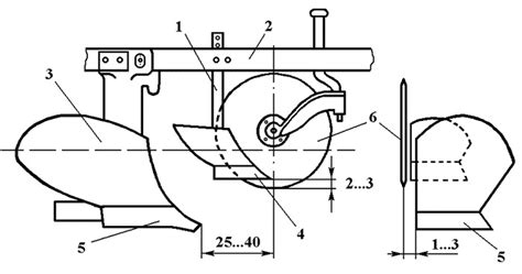
Плуг для минитрактора: регулировка, настройка, ...
Косилка сегментная для минитрактора - купить от...
Распашник для мотоблока – как самостоятельно сд...
Rear hitch for minitractor. Задняя навеска для ...
Аксессуары для Минитрактор дизельный Shifeng SF...
Картофелекопалка двухрядная для минитрактора Пр...
Минитрактор Булат-120 - технические характерист...
Плуг своими руками для минитрактора видео: инст...
Распашник для картофелесажалки: продажа, цена в...
Навесное оборудование для минитракторов: обзор ...
Окучник тройной для минитрактора Уралец :купить...
Мини-Тракторы - Купить В Москве | Цены И Отзывы...
Распашник Садовый – купить в интернет-магазине ...
Распашник для мотоблока своими руками размеры ч...
Окучник распашник для минитрактора - YouTube
Распашник для минитрактора на 1 и 3х точ. навес...
Купить Минитрактор Беларус-112-01Н в Минске
Трактор с прицепом,ещё есть навесное, плуг и ра...
Распашник для мотоблока нева — купить по низкой...
Выбор запчастей к минитрактору: оригинальные и ...
Распашник ПВ-1 – купить в Минске | Цена 13.00 byn
Прицеп для минитрактора самосвальный
Плуг для мотоблока: самодельный распашник для м...
Почвофреза к мототрактору с цепным приводом: пр...
Распашник для трактора Беларусь, юмз-6, Т-40 ку...
Переделка конного плуга под мотоблок
Плуг для минитрактора.
Кмз-012, окучник - распашник, садовая техника к...
Новини та акції - Роторные косилки для минитрак...