Индикатор Нагрузки Изображения – скачать беспла...
Система индикатора грузоподъемности крана индик...
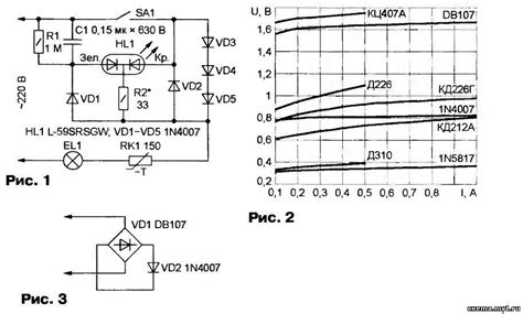
Простой индикатор включения нагрузки 220V - You...
Купить SCANIA R 124 400KM 2000 ИНДИКАТОР НАГРУЗ...
Индикатор нагрузки Изображения – скачать беспла...
Гидравлические индикаторы веса - Canam Pipe & S...
Индикатор нагрузки аккумулятора, China Индикато...
Индикатор нагрузки CHB, инструмент с цифровым д...
Индикатор нагрузки - Конструкции простой сложно...
ИНДИКАТОР НАГРУЗКИ КАК В СЧЕТЧИКАХ - YouTube
Индикатор включенной нагрузки
Индикатор подключения нагрузки к розетке
Load picture
Индикатор нагрузки от 1 до 100 процентов | Прем...
Индикатор включения нагрузки из хлама
индикатор нагрузки — DRIVE2
Набор индикаторов. индикатор загрузки. прогресс...
Индикаторы нагрузки на анкерную крепь ИН (Н), И...
Скачать Zenith CPU & RAM индикатор нагрузки про...
Индикатор нагрузки на ось - ООО "НПК Позитрон"
Цифровой светодиодный дисплей, измеритель нагру...
Цифровые индикаторы нагрузки ID1000, подъемные ...
Индикатор Лми безопасной нагрузки системы Тенси...
Индикатор нагрузки (WORLDHOISTS Load Display) в...
ВЫКЛ НАГРУЗКИ+ИНДИКАТОР iSW 1П 20A КРАСН Таймер...