Схема подключения генератора уаз 469 старого об...
Купить Генератор УАЗ 469, 452 (буханка) в Тюмен...
Устанавливаю генератор на УаЗ 469 заработает ил...
AFVs in miniature: UAZ-469 - engine and few ref...
AUTO.RIA – Продам УАЗ 469Б 1977 (AX2612EI) газ ...
Как Проверить Генератор На Уаз 469 Старого Образца
Генератор уаз 469 (39 фото) - фото - картинки и...
Двигатель УАЗ 469 (11 фото): технические характ...
Система питания двигателя УАЗ-469 - назначение,...
Система зажигания уаз 469
ALTERNÁTOR UAZ 469, ORIGINAL CCCP | Army shop, ...
УАЗ 469 2.4 дизельный 1977 | на DRIVE2
Тюнінг панелі приладів УАЗ 469 - VnedorognikBlog
Схемы электрооборудования УАЗ 469 » Схемы предо...
Генератор УАЗ-469 - назначение, устройство, схе...
AUTO.RIA – Продам УАЗ 469 1978 (CA2569IX) дизел...
Генератора уаз 469 подключение: Генератор УАЗ 4...
Как Поднять Генератор На Уаз 469
Реле регулятор напряжения генератора уаз патрио...
Уаз 469 .Поставил дизельный двигатель. - YouTube
Купить Генератор 120А (ДЛЯ А/М УАЗ, ГАЗ, ДВ. ЗМ...
Генератор для автомобилей ГАЗ с дв. ЗМЗ-511/УАЗ...
Тюнінг УАЗ 469 – як їх модифікують? - vnedorogn...
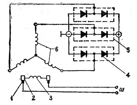
ГЕНЕРАТОР АВТОМОБИЛЯ УАЗ-469
Схема подключения реле генератора уаз 469 - 94 ...
Инжектор на уаз 469 своими руками
Генератор 120 ампер шкив 13mm а/м ГАЗ с дв. УМЗ...
Уаз-469. Мощный Генератор На ЗМЗ-406 - YouTube