Кавитация
Foyying 40K ультра звуковая кавитационная палоч...
Кавитация | Клиника косметологии "Сакура"
Кавитация — что это за процедура, отзывы, фото ...
КАВИТАЦИЯ.ВСЕ О КАВИТАЦИИ.ЧТО ЭТО ТАКОЕ ?.ПЛЮСЫ...
КУДА ПОЙТИ ЗА СОВЕРШЕНСТВОВАНИЕМ ФИГУРЫ: КАВИТА...
Кавитация, худеем легко | Amedex
Кавитация в потоке движущейся через насос жидко...
Энциклопедия трибологии - Кавитационное изнашив...
Студия коррекции фигуры в Брянске - аппаратный ...
Что такое кавитация - противопоказания процедуры
Кавитация - это быстрый и эффективный способ из...
Кавитация и ее противопоказания | DeeEta.ru
Кавитация / Аквариус НН
Кавитация. - YouTube
КАВИТАЦИЯ – ЧТО ЭТО ТАКОЕ? / БЕЗОПАСНОСТЬ КАВИТ...
Кавитация: взгляд со всех сторон
Кавитация для тела [что это такое]: показания и...
Кавитация. Что это такое, ультразвуковая процед...
Ультразвуковая кавитация для тела в Молдове
Как установить датчик эхолота - BoatProfi
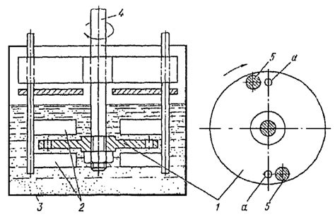
Кавитации в насосах
Кавитационный пилинг: что это такое, как проход...
Какво е Кавитация?
Кавитация+вакуум+лимфен дренаж - Мастър Росен -...
Кавитация - YouTube
Что такое кавитация | Flacon
Кавитация простыми словами | Александр Чацкий |...
Кавитация - что это за процедура, отзывы, резул...
Ультразвуковая кавитация: противопоказания, пос...
5 in 1 Dispozitiv Vacuum Cavitatie RF 5 в 1 уль...
Аппарат Ультразвуковой кавитационный 9 в 1, 80 ...
Кавитация в насосе - YouTube