Светящийся выключатель | Старый Свет
Выключатель света холодильника Bosch, Siemens 1...
Выключатель света холодильника, выключать венти...
Выключатель света в холодильнике купить в Москве
Выключатель света проходной | Купить, цена, отзывы
Выключатели Света Магазин — Zazakupkami.ru
Беспроводной выключатель света: home_and_garden...
⚡️Выключатель света для прихожей | radiochipi.ru
Выключатель света холодильника Атлант - купить ...
Выключатель света для холодильника Бирюса купит...
Почему свет в холодильнике не горит: перестал в...
Выбираем выключатель света!
💡 АВТОМАТИЧЕСКИЙ 🔌 ВЫКЛЮЧАТЕЛЬ СВЕТА - YouTube
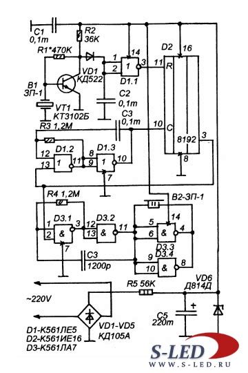
Автоматический выключатель холодильника » S-Led...
Выключатель света для холодильника купить в инт...
Выключатель поворотный | Старый Свет
Советский выключатель света как собрать - Фото ...
Кнопка выключения света холодильника Beko - куп...
Кнопка Выключатель Света Холодильника Whirlpool...
Выключатели для Холодильников
Выключатель света для холодильника BEKO SWT856A...
Выключатель света холодильника BEKO 4834220185 ...
Выключатель света с таймером включения и выключ...
Кнопка включения света холодильника - купить с ...
ИК выключатель света (с пульта ДУ)
Освежитель для холодильника
Выключатель света с регулятором яркости как раз...
Обзор измельчителя пищевых отходов Haier HDM-1370B
Выключатель одноклавишный | Старый Свет