Сцепление трактора Т-150
Муфта сцепления трактора Т-150К
Сцепление для трактора МТЗ 80/82, МТЗ 320, Т-150
Сцепление трактора Т-150 и Т-150К с двигателями...
Купить корзина муфты сцепления Т150 дв СМД-60 (...
Запчасти на трактор т 150 купить в Старом Оскол...
Трактор Т-150 — технические характеристики, вес...
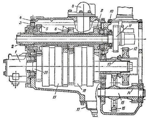
Трактор Т-150: устройство агрегатов, механизмов...
Т-150 Сцепление. Часть 2 ( выжимной подшипник, ...
Диск сцепления трактора Т-150 (150.21.024-2) СМ...
Как отрегулировать сцепление на т 150к с мазовс...
Диск Т-150 нажимной в сборе корзина 182.1601090...
Муфта сцепления трактора Т-150
Сцепление в сборе для сх/т Т-150,ХТЗ-17221,ХТЗ-...
Т-150 сцепление. Виды корзин сцепления трактора...
Регулировка сцепления тракторов МТЗ, ЮМЗ, Т-150
ХТЗ Т-150 Коробка, сцепление, редуктора в ХЛАМ ...
Трактор Т-150
Трактор Т-150: описание, скорость, коробка передач
Корпус сцепления Т-150 - ООО Лемех - запасные ч...
Сцепление трактора: устройство и возможные неис...
Стакан сцепления Т-150 | ООО «Агромаш» Ставрополь
Регулировка сцепления трактора: когда и как про...