Цветомузыкальный переключатель гирлянд
Дом - переключатель гирлянд | Пикабу
Переключатель гирлянд - чертеж электрической схемы
РадиоКот :: Переключатель гирлянд.
Самодельный переключатель гирлянд - YouTube
Простой переключатель гирлянд
Переключатели ёлочных гирлянд советских времен ...
Новогодние гирлянды | HamLab
Переключатель гирлянд на однопереходном транзис...
Переключатель гирлянд | Электрик в доме
Простейший переключатель елочных гирлянд (бегущ...
Транзисторный переключатель гирлянд с плавным в...
Компактный переключатель гирлянд » Вот схема! -...
Простой переключатель гирлянд на одном тиристоре
Советские переключатели гирлянд для новогодней ...
Схемы Гирлянд - Паятель.Ру - Все электронные схемы
Купить Переключатель электрогирлянд гирлянд "До...
Переключатель ёлочных гирлянд Домик СССР.
ПЕРЕКЛЮЧАТЕЛЬ ГИРЛЯНД ⚒️ Попытка осознания - Yo...
⚒️ ПЕРЕКЛЮЧАТЕЛЬ ЕЛОЧНЫХ ГИРЛЯНД (Такой не купи...
Схема из СССР Переключатель Гирлянд из УТЮГА "п...
Удлинитель для гирлянд длина 5 м/Прозрачный удл...
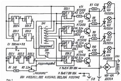
ПРОГРАММИРУЕМЫЙ ПЕРЕКЛЮЧАТЕЛЬ ГИРЛЯНД.
Простой переключатель гирлянд на реле постоянно...
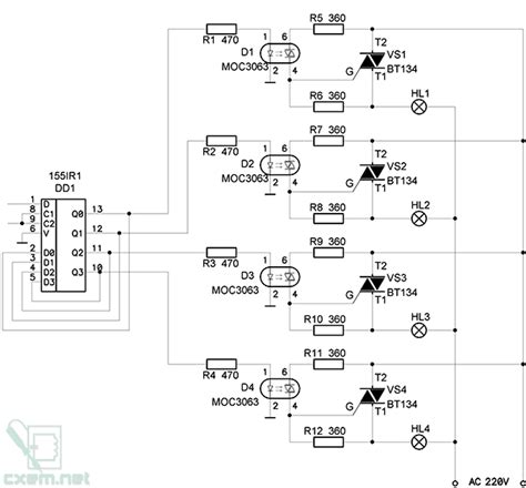
Переключатель четырех гирлянд » Вот схема! - Эл...
Программируемый переключатель гирлянд
Переключатель гирлянд «Избушка» пр-во СССР+2гир...
Тиристорный переключатель гирлянд » Вот схема! ...
Радио Схемы - Многоканальный переключатель гирлянд