Раскройная машина раскройный нож купить на OZON...
Китай Горизонтальная машина для резки пенопласт...
6.8 Оборудование для раскроя материалов
Релсова машина за рязане на плочки 1200мм - Про...
Раскрой материалов - Технология контроля качест...
Раскройные машины - Подготовительно-раскройное ...
Листорезальная машина для резки рулонных матери...
Ручная круглая машина для резки образцов, нож д...
Оборудование для раскроя материала - презентаци...
Мини-электрическая ручная швейная машина с двой...
Машина за рязане на гранитогрес с лазерен водач...
Раскройная машина с полным автоматизированным п...
Раскройная машина Станок для раскроя - купить п...
Купить Машина раскройная Type Special c дисковы...
Машина раскройная дисковая купить | Бытовая тех...
Оборудование для подготовительно -раскройного у...
Прочная машинка для стрижки ногтей из нержавеющ...
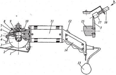
Устройство и эксплуатация машин с дисковым ножо...
Автоматическая линия раскроя рулонной стали RUB...
Что такое раскройная машина? - Швейная фабрика
Раскройная машина Режущий станок - купить по ни...
Раскройная машина машина раскройная - купить по...
Ленточная раскройная машина Ronmack RM-DCQ900
WESTON Ленточная раскройная машина W-BK 900 купить
Передвижная машина с дисковым ножом марки ЭЗДМ-...
Раскройная машина 1011210537515_karf - купить п...
Машинка для стрижки