Комплект переобладнання рульового управління Т-...
Трактор Т40 Трактор | Трактори, механизация, ин...
Руководство по ремонту Т-40М Модели с дизельным...
Продам т-40, купить т-40, Одесская обл — Agro-U...
T40
قیمت و خرید چسب دو طرفه مدل M40 مجموعه 40 عددی
Регулировка сцепления Т 40, устройство и особен...
Маточина т40 - купити недорого оптом на Prom.ua...
Трактора Т 40 и его модификаций — технические х...
Трактор Т40 в Селскостопанска техника в с. Момк...
Шайба замковая конечной передачи Т40 - Купить в...
трактор т-40
Трактор Т 40 АМ технические характеристики, фот...
Т40 Двигател Д144 за Трактор Т40 на части в Сел...
Продам Т-40, бу (вживаний) - купити т-40 — Agro...
Т 40 Ам Трактор Разборка Сборка Двигател - mate...
Авто продажа Трактор т-40 1986 года выпуска в О...
Запчастини Т-40 — двигун, коробка передач, галь...
Т-40: Купить Дополнительное оборудование!
Зчеплення Т-40 — муфта, важелі, підшипники, ком...
Палец маховика Т-40 Д-144 - Д30-1005317-А1 купи...
T-40
Болт маховика трактора Т-40 (М14х40мм) (Д144-10...
Книга по ремонту и эксплуатации трактора Т-40М/...
Передній міст Т-40 купити недорого в Агроплан
Тело зажимного профиля T-40T купить Минск
Трактор Т40 - описание, технические характерист...
Т-40 в Івано-Франківській області від компанії ...
Все о тракторе Т-40 — описание, характеристики ...
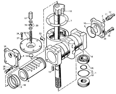
Каталог деталей и сборочных единиц трактора Т-4...
Трактор Т-40: устройство механизмов, выполняемы...
Продажа Трактор Т-40 АМ 1988 года Луцк - автоба...