Винт полукруглый ГОСТ 17473-80 латунь M3х12мм о...
Винт ГОСТ 17473-80 Исп.1 с полукруглой головкой...
Купить Винт М6 ГОСТ 17473-80, DIN 7985 с полукр...
Винт с полукруглой головкой ГОСТ 17473-80 оптом...
Винт ГОСТ 17473-80, купить винты с полукруглой ...
ГОСТ 17473-80 винт с цилиндрической головкой и ...
Винт 2.M4-6gx10.016 ГОСТ 17473-80 (DIN 7985) | ...
Купить Винт М2-6gх4.48 ГОСТ 17473-80 оптом и в ...
Винт М5 ГОСТ 17473-80 с полукруглой головкой ку...
Винты: Винт с полукруглой головкой ГОСТ 17473-80
Купить винт ГОСТ 17473-80 производство с полукр...
Винт с полукруглой головкой М3х16-16 ГОСТ 17473...
Винт ГОСТ 17473-80 полукруглый купить оптом в С...
Винт ГОСТ 17473-80 с полукруглой головкой, разм...
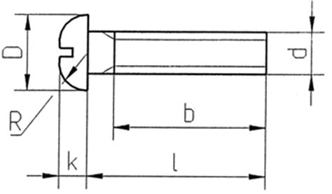
ГОСТ 17473-80
Купить Винт ГОСТ 17473-80 с полукруглой головко...
Винт ГОСТ 17473-80 ООО НПП «ТагМетиз»
М 5 х 20 Винт полукруг. гол. ГОСТ 17473-80 к.п ...
Винт ГОСТ 17473-80 с полукруглой головкой класс...
Винт с полукруглой головкой ГОСТ 17473-80, клас...
Винты ГОСТ 17473 - купить от производителя на m...
Винты ГОСТ 17473-80 купить под заказ в Санкт-Пе...
ГОСТ 17473-80. Винт с полукруглой головкой. Вин...
Винт для ручки М4х35 цинк ГОСТ 17473-80 купить ...