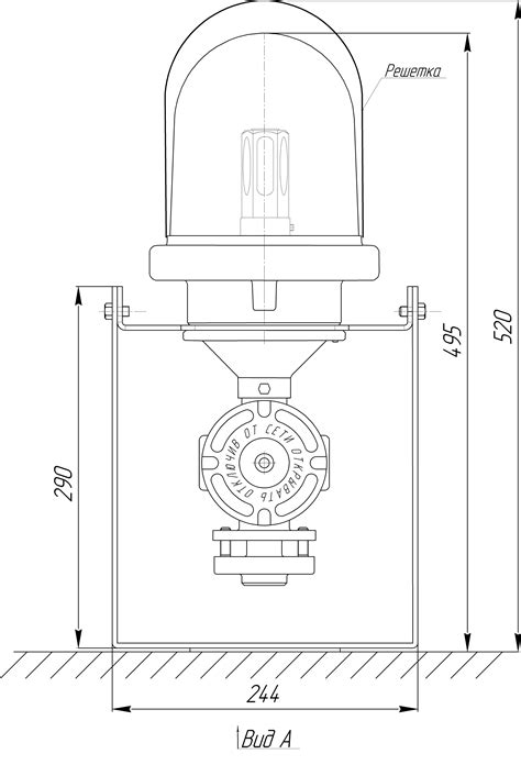
Светильник взрывозащищенный НСП02-200-001(ВЗГ-2...
Сварочный полуавтомат Zitrek ZWS-200, MMA/MIG б...
ВЗГ-200 светильник взрывозащищенный - ТОВ "ЕЛЕК...
Светильник взг-200 | Festima.Ru – частные объяв...
Вд 200: Оборудование нашего производства : ИЖ В...
МАЗ-200 - технические характеристики, обзор, мо...
Светильник взрывозащищенный взг-200 нсп-18вех-2...
Светильник НСП 57-200-ХХХ УХЛ1 (ВЗГ-200) | Груп...
Масштабна модель МАЗ-200 (116450022) - купити V...
AMG200.ru | Aprelevka
Светильник взрывозащищенный взг-200 амс-У2 (ССС...
Светильник взрывозащищенный ВЗГ-200 в Ташкенте,...
Купить светильник ВЗГ-200 выгодные цены в Санкт...
Светильник взг 200амс: ВЗГ-200АМС-СД светильник...
Светильник взрывозащищенный ВЗГ-200 в г Комсомо...
Светильник взрывозащищенный типа НСП 44-200 (ВЗ...
ВКМц 200 канальный центробежный вентилятор ВЕНТ...
Судовой ВЗГ-200 АМС взрывозащищенный ВЗГ-200 св...
Светильник SVET НСП 57-200-001 УХЛ1 (ВЗГ-200) 1...
Взрывозащищенные заградительные огни серии ВЗГ-...
Светильник взрывозащищенный ВЗГ-200 (НСП-18ВЕх-...
Светильник ВЗГ-200 - Купить в Алматы: продажа, ...
ASL GmbH | AWZ200 | Ademco
Сборная модель МАЗ 200 кунг | Аукцион масштабны...
Взрывозащищенные светильники / Взрывозащищенные...
Светильник взрывозащищенный ВЗГ-200 НСП 02-200-...
VG200-Kazakistan - ADICOMP - Global
ВЗГ-200 світильник вибухозахищений - ТОВ "ЕЛЕКТ...
Светильник ВЗГ-200, ІР54: продажа, цена в Киеве...