Киа рио 3 распиновка генератора - 82 фото
Генератор Киа Рио 3: замена, ремонт, щетки, под...
Как натянуть ремень генератора на киа рио 3
Реле регулятор генератора щетки 2 контакта щето...
Распиновка генератора киа рио 3 пина
Замена щеток генератора — KIA Rio 5-door (3G), ...
Kia Rio | Снятие, ремонт и установка генератора...
Щеточный узел для генератора 2-3 кВт 168F - куп...
Киа Рио. Снятие, ремонт и установка генератора....
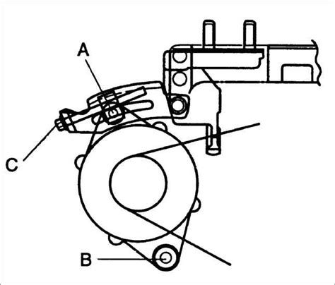
Как разобрать генератор киа рио 3
Замена генератора Киа Рио 3 своими руками - You...
Замена генератора — KIA Rio (3G), 1,6 л, 2011 г...
Щеточный узел генератора киа рио
Устройство генератора автомобиля киа рио
Реле генератора киа рио 3 valeo
Щетки генератора киа рио 3 размеры - NEVINKA-IN...
Замена генератора Киа Рио 3
Регулятор генератора щетки 3 контакта щеточный ...
Реле регулятор генератора щетки 3 контакта щето...
Как делается замена ремня и генератора на Kia Rio
Схема подключения генератора киа рио 3 - 80 фото
Генератора запчасти Solaris и Kia Rio Солярис Р...
Ремонт генератора KIA RIO. Купить генератор KIA...