👍Какой купить центробежный насос для скважины
Насос центробежный НЦ-Р1
Типы китайских центробежных насосов производите...
Центробежный насос | это... Что такое Центробеж...
Погружные канализационные насосы Центробежные н...
Как работает центробежный насос? Основные типы ...
Центробежный насос. Большая российская энциклоп...
Центробежный насос - презентация онлайн
Насос скважинный CNP SJ-95-9 Ду200 Ру34 погружн...
Центробежный насос для воды
Центробежные насосы для очистки сточных вод Про...
Насос скважинный центробежный Водолей БЦПЭ 0,5-...
Центробежный насос: разновидности, особенности ...
Центробежные насосы: виды, устройство и принцип...
Китай Индивидуальный центробежный насос с высок...
Классификация насосов, Динамические насосы, Цен...
Центробежный скважинный насос CNP SJ 1-20
Центробежные насосы
Центробежный водяной насос для орошения по инди...
Какой скважинный насос лучше - центробежный или...
Китай Центробежный насос с медной проволокой - ...
Насос погружной (скважинный) центробежный 2ЭЦВ ...
Центробежный насос для подачи и транспортировки...
Центробежные насосы - презентация онлайн
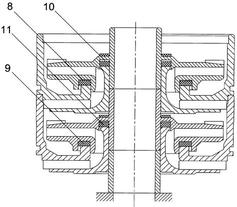
RU74674U1 - Погружной скважинный многоступенчат...
Насос центробежный скважинный для воды 2ЭЦВ 10-...
Насос скважинный центробежный ЗУБР, 40 м напор ...
Глубинный Насос Погружной Центробежный Vodomet ...
Китайский завод и производители вертикальных мн...
2. Центробежные насосы - устройства, в которых ...
Китай RS Горизонтальный Многоступенчатый Центро...
Купить Центробежный насос оптом | 25 Регион - О...
Центробежные насосы от производителя завод насо...