Элес УКБ СГС-22-МЕ300В (120B) Усилительно-комму...
Пульты управления предназначены для управления ...
БЛОКИ СОПРЯЖЕНИЯ | ИНТЕН | Технологии строитель...
БЛОКИ СОПРЯЖЕНИЯ | ТСКОМ-ПРОЕКТ | Технологии ст...
УКБ СГС-22МЕ200Н (настенный)200 Вт, СР-ВА И СИС...
Блок коммутации и управления (БКУ) оборудования...
Оборудование для системы оповещения П166ВАУ сер...
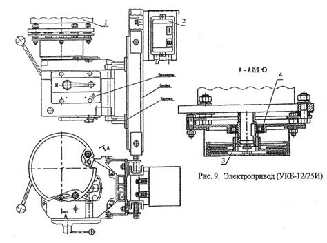
Установка укб-12/25.
Стойка шкаф укб сгс 22 ме300 вт в комплекте с м...
УКБ СГС-22МЕ700Н (настенный) (Элес)
5 Оборудование для локальных систем оповещения ...
Буровая установка УКБ-12/25
Блок сопряжения РТУ-Ethernet П-166 ВАУ серии СГ...
ППР УКБ |Ф20 Х 1/2"| и |Ф25 Х 1/2"| SFIT - КОД:...
6 Оборудование систем звукового оповещения на б...
Пульт управления сгс 22 м инструкция
presentation_presentation S6IXCCm318.ppt
Шкаф (стойка) УКБ СГС-22-МЕ300 120 В ЛЦКП.46835...
Усилительно-коммутационный блок
Стойка(шкаф) с УКБ СГС-22-МЕ900 + аккумуляторы ...
Услуги. СГС - очистные сооружения, проектирован...
Генератор СГС-30Б
Усилительно коммутационный блок СГС-22-МЕ300В Л...
Самоходная буровая установка укб-200/300с
Стойка(шкаф) с УКБ СГС-22-МЕ300 + аккумуляторы ...