Угольный регулятор напряжения Р-25АМ
Угольный регулятор напряжения урн-423 купить в ...
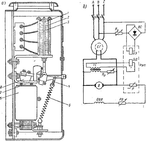
Схемы регулировки напряжения для генератора
3.2.1 Угольный регулятор с дифференциальным кор...
Угольный регулятор напряжения купить в Курске Р...
Тиристорный регулятор напряжения: принцип работ...
Угольный регулятор напряжения Р-25 АМ — Студопедия
Схема регулятора напряжения генератор переменно...
Угольный регулятор напряжения УРН-211Б У3. купи...
Купить Угольный регулятор напряжения УРН-422, ц...
Схема регулятора напряжения входным напряжением
Угольный регулятор.
Угольный регулятор напряжения
Угольный регулятор напряжения УРН-423 — Студопедия
УРН-423-У3 угольный регулятор напряжения - Элек...
Угольные регуляторы напряжения генераторов - NE...
Регулятор напряжения УРН 423У3, УРН 423/1У3 куп...
Регуляторы напряжения.
Способы поддержания постоянства напряжения на з...
Угольный регулятор напряжения Р-27
Угольный регулятор напряжения УРН-421У3. купить...
Регулятор напряжения угольный урн-422 у3 купить...
Угольный регулятор напряжения - Чертежи, 3D Мод...
Угольный регулятор напряжения что это такое
Угольный регулятор напряжения РН-600 | UMA CORP
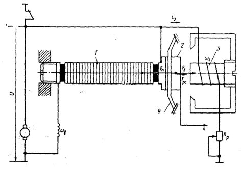
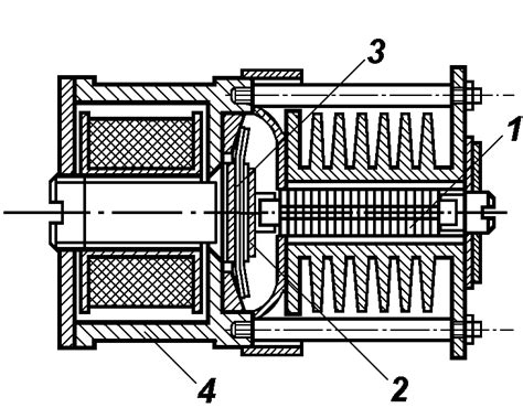
Регулятор угольный напряжения. Конструкция и пр...
Устройства регулирования напряжения ДЭС
Регулятор напряжения и тока для зарядного устро...
Угольный регулятор напряжения Р-25ам - 2сер куп...