Косилка сегментая 2х-ножная (по типу ЖРБ) - You...
Продажа и производство сельхоз техники — Смолсе...
Сегменты на роторную косилку . - YouTube
Сегментная косилка для мотоблока - YouTube
Косилки для минитракторов — виды, изготовление,...
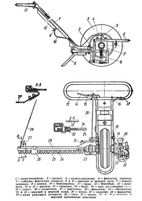
Косилка
Навесная сегментная косилка - YouTube
Сегментная косилка для трактора (29 фото) - фот...
Косилка сегментная 1,6м оптимальные цены, техни...
Косилки
КОСИЛКА НА ГАЗОНЕ | МОДЕЛИСТ-КОНСТРУКТОР
Косилка навесная сегментно пальцевая ксф-2.1 (Р...
Косилка сегментная КСФ 2 1.Б – АГРАРИЙ
Косилка сегментная 1.8
Косилка сегментная КС-2.1 часть 2. Настройка и ...
Косилка сегментная 1,8: продажа, цена в Минске....
Косилка на мотоблок — виды, изготовление своими...
Косилка сегментно-пальцевая – ООО “SN Invest”
Тракторну сегментку переробив під мотоблок. - Y...
какие сегменты ставить на польскую сегментную к...
Замена сегментов на косе в полевых условиях. - ...
Сегментные косилки, б/у, трактор, в наличии. Це...
Косилка сегментная в Кумылженской
Купить Нож сегментный косилки роторной в ПРОРАБ...
Ножи(сегменты)на роторную косилку - YouTube
Косилки на мотоблок — обзор роторной, фронтальн...
Обзор сегментных косилок для МТЗ – АГРАРИЙ
Сегментные ножи на косилку "Заря". - YouTube
Сегмент своими руками для роторной косилки заря...
Косилка сегментная, 1995 год, б/у, трактор, в н...
Самодельная косилка - устройство и принцип рабо...
Косилка сегментная - Навесное и дополнительное ...