Пескоструй — DRIVE2
Пескоструй фар или пыль внутри? — Сообщество «F...
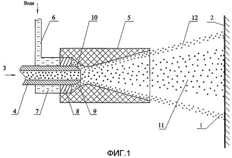
Сверхзвуковой пескоструй своими руками чертежи ...
Пескоструй Спутник
Сверхзвуковой пескоструй. - YouTube
Пескоструйные аппараты – ТСК Пневмосервис
Пескоструй сверхзвуковой чертежи
Пескоструйный аппарат купить в Атырау
Пескоструйный аппарат Ураган П-60Л Піскоструй,П...
Пескоструйные аппараты / «Спарк-Дон» - зуботехн...
Пескоструйный аппарат для пескоструйных камер -...
Пескоструйные аппараты – купить пескоструй (пес...
Пескоструй сверхзвуковой. - YouTube
На что способен сверхзвуковой пескоструй - YouTube
Пескоструйный аппарат - YouTube
Чертеж сопла пескоструя - 83 фото
Пескоструй в Запорожье — Сообщество «DRIVE2 Зап...
Пескоструй сверхзвуковой. - Смотреть онлайн в п...
Пескоструй.
Сверхзвуковой мини пескоструй - YouTube
НЕБОЛЬШОЙ, НО МОЩНЫЙ ПЕСКОСТРУЙ - YouTube
Сверхзвуковой пескоструй😎 полный ролик на основ...
Персональный сайт - Пескоструйные аппараты Air-...
Пескоструй - YouTube